GOTT IM HIMMEL!
Der Typ wusste nichtmal wo der Öltank ist!!!
Beiträge von Nudel
-
-
Hi Leute,
ich soll am Wochenende mit nem Bekannten eine 125er NSR anschauen gehn. Ich hab durch meine RGV250 zwar einiges an 2T Erfahrung, aber eben nicht mit der Honda. Welche Teile sollte man da genau anschauen? Haben die auch diese Problemchen mit der Auslasssteuerung wie die RGV? Wäre für alle Tipps dankbar!Das sind die "Daten":
Gebrauchtfahrzeug, 23.300 km, 125 ccm,
10 kW (14 PS), Benzin, Schaltgetriebe, Erstzulassung: 03/99, HU: 08/08, AU: 08/08Vielen Dank im Voraus
-
Wächst der Luftwiderstand nicht im Quadrat mit der Geschwindigkeit?!
-
Also ich meine diese Aufnahme, die das Federbein mit dem Rahmen verbindet. Die ist mit 4 eingeklebten Schrauben am Rahmen befestigt. Ich hab nur dieses Teil getauscht.
Oder redet ihr die ganze Zeit von was anderen?
-
Hatte das gleiche Problem. Da der Riss allerdings durch die komplette Aufnahme ging, hab ich mich dazu entschlossen, das ganze Ding zu tauschen. Schweissen taugt da nix, weil man innen nicht schweissen kann. Ausserdem müsste man die Aufnahme zum schweissen sowieso ausbauen, dann kann man auch gleich ne neue einsetzen.
-
Ja, die Feder ist wirklich im Eimer! Hab für 5 € ne neue beim Suzuki-Händler geholt.
Was sind denn die 3 f´s ?
-
Achso.. stimmt eigentlich

Hab mir das noch garnicht so genau angeschaut.. hab nur gesehen dass die Feder beim anderen Zylinder halt anliegt. Naja hab vorhin eine bestellt, aber die kostet glücklicherweise nur 5 Eier :pWar wohl bisschen überstürzte Aktion.. aber ich will fahren :p
Danke für die schnelle hilfe.
Hab noch nie ein so hilfreiches Forum gesehen. Und das ohne ständige beleidigungen und besserwissereien. -
Wow, danke für die schnelle Antwort. Ja das mit dem Ölen war auch nur so als Vorwort angedacht

Das dachte ich mir auch dass die einfach zur Entlastung da ist, falls was klemmt.
Die Feder war vom Vorbesitzer schon so montiert. Gebrochen is die nicht, aber enorm weit aufgebogen. Ich denk die lässt sich auch nichtmehr richten. Ich muss heute Mittag sowieso zum Suzuki-Händler dann kann ich die gleich bestellen.. aber das wird wieder ewig dauern. Wo könnte man sowas schneller herkriegen?
-


Das sind Originalbilder. Ich hoffe ihr erkennts. -
Hallo Leute,
bin neu im Forum und hab die Forensuche intensiv genutzt; Leider vergeblich. Bitte steinigt mich nicht, falls dieses Problem, bzw. diese Frage schonmal aufgetaucht ist
Ich hab ne RGV250, Modell von 1991. Hatte diese vor 2 Jahren gekauft und kurz darauf 2 neue Zylinder+Kolben verbaut. Jetzt muss ich zum TÜV und wollte vorher nochmal alles checken, weil elendig viel ÖL zu den esd rausspritzt. Mein Nummernschild konnt man kaum noch lesen. Jetzt genug des geschwafels und zu meiner eigentlichen Frage:
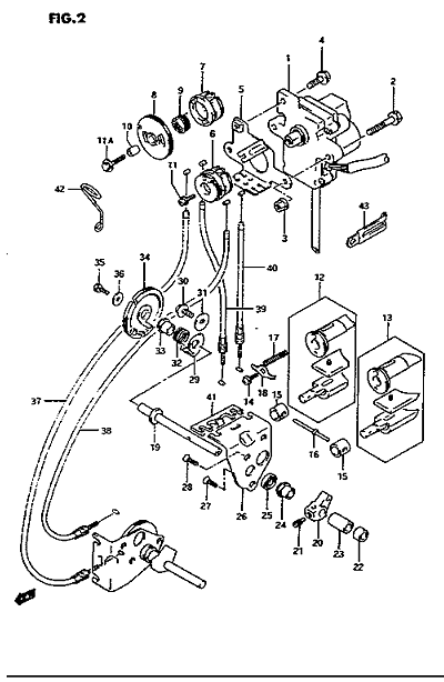
An der Auslasssteuerung am Zylinder is ne aufgewickelte Feder. Diese hat bei meinem liegenden Zylinder enorm viel spiel und im Stehenden liegt sie an diesem hervorstehenden "Näschen" an. Welche Version is da normal? Ich denke die sollte eher kein Spiel haben, weiss es aber nicht, da mein Handbuch von der VJ21A und kaumnoch leserlich is

Auf dem Bildchen isses die Feder Nr. 32.